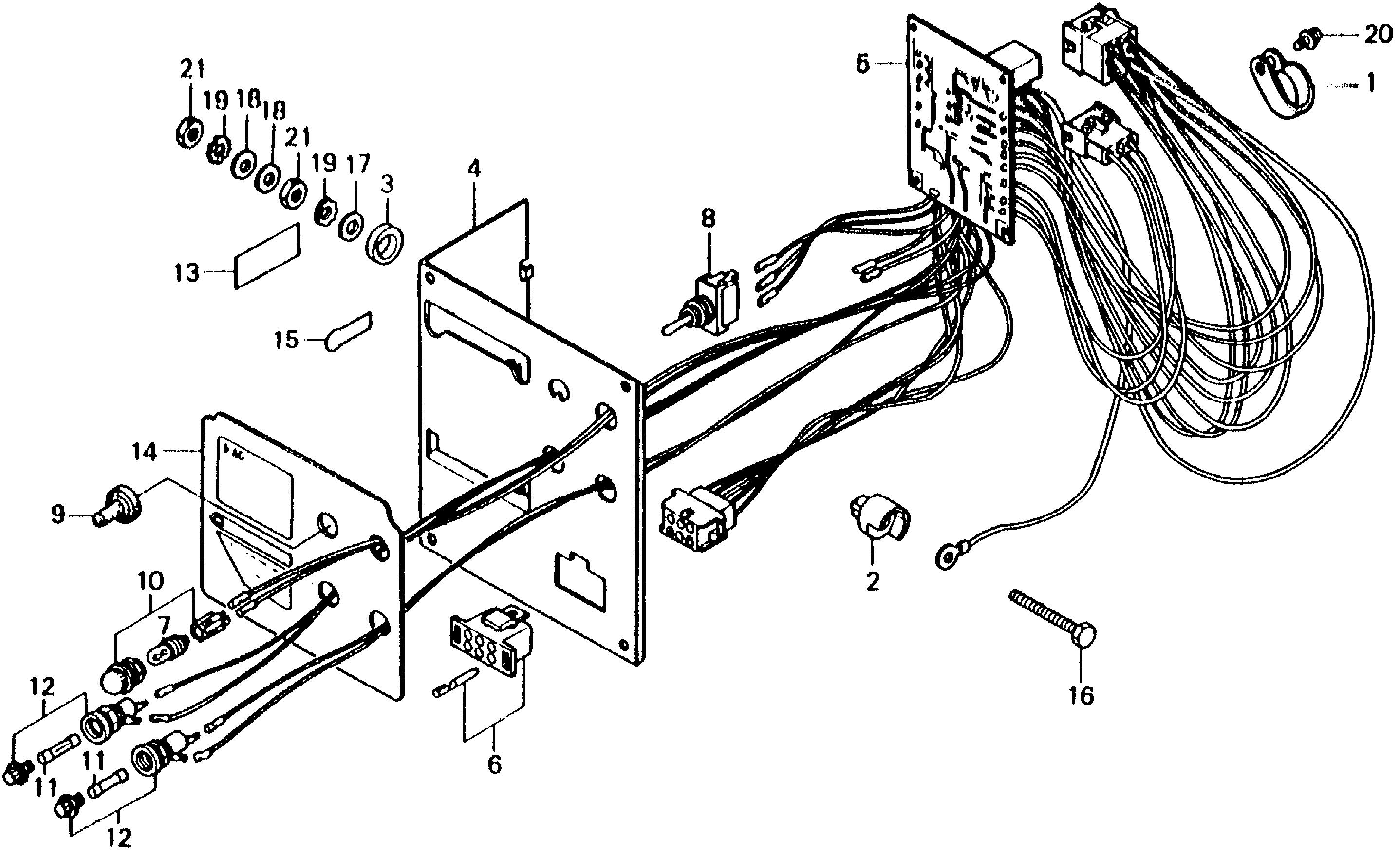
Generators EV EV4000 EV4000 A EV4000-1000001-9999999 CONTROL BOX PANEL@ENGINE SWITCH - Five Star Honda Power Equip

Ref No
Part Number
Description
Serial Range
Qty
Price

Ref No
1
Part Number
30566-895-000
Description
CLAMP C, CABLE
Serial Range
1000001 - 9999999
Qty
Price
$6.55

Ref No
2
Part Number
31211-895-300
Description
COLLAR A, D.C. TERMINAL
Serial Range
1000001 - 9999999
Qty
Price
$22.16

Ref No
3
Part Number
31213-895-300
Description
COLLAR B, D.C. TERMINAL
Serial Range
1000001 - 9999999
Qty
Price
$9.05

Ref No
4
Part Number
31402-895-010ZA
Description
PANEL, CONTROL BOX *NH116M* (URBAN SILVER METALLIC) (NOT AVAILABLE)
Serial Range
1000001 - 9999999

Ref No
5
Part Number
31451-895-003
Description
CIRCUIT ASSY., PRINT
Serial Range
1000001 - 9999999

Ref No
6
Part Number
06560-ZB5-100AH
Description
CONNECTOR ASSY., PLUG
Serial Range
1000001 - 9999999
Qty
Price
$13.51

Ref No
7
Part Number
34909-895-003
Description
BULB (12V2W)
Serial Range
1000001 - 9999999
Qty
Price
$15.25

Ref No
8
Part Number
36120-895-004
Description
SWITCH ASSY., ENGINE (NOT AVAILABLE)
Serial Range
1000001 - 9999999

Ref No
9
Part Number
36121-895-004
Description
CAP, SWITCH
Serial Range
1000001 - 9999999

Ref No
10
Part Number
37561-880-300
Description
HOLDER, LAMP
Serial Range
1000001 - 9999999

Ref No
11
Part Number
38201-895-003
Description
FUSE (NOT AVAILABLE)
Serial Range
1000001 - 9999999

Ref No
12
Part Number
38211-ZB5-831
Description
HOLDER, FUSE
Serial Range
1000001 - 9999999
Qty
Price
$44.31

Ref No
13
Part Number
87512-895-000
Description
MARK, WIRE CAUTION
Serial Range
1000001 - 9999999

Ref No
14
Part Number
87552-895-010
Description
PLATE, CONTROL PANEL (LOWER)
Serial Range
1000001 - 9999999

Ref No
15
Part Number
87553-895-000
Description
MARK, BATTERY
Serial Range
1000001 - 9999999

Ref No
16
Part Number
90102-895-000
Description
BOLT, D.C. TERMINAL
Serial Range
1000001 - 9999999
Qty
Price
$6.18

Ref No
17
Part Number
90405-671-000
Description
WASHER, EQUALIZER (8MM) (NOT AVAILABLE)
Serial Range
1000001 - 9999999

Ref No
18
Part Number
90501-895-300
Description
WASHER, D.C. TERMINAL
Serial Range
1000001 - 9999999
Qty
Price
$3.48

Ref No
19
Part Number
90502-895-003
Description
WASHER, STAR
Serial Range
1000001 - 9999999
Qty
Price
$3.48

Ref No
20
Part Number
93891-04010-08
Description
SCREW-WASHER (4X10)
Serial Range
1000001 - 9999999
Qty
Price
$2.03

Ref No
21
Part Number
94002-08300-0S
Description
NUT, HEX. (8MM)
Serial Range
1000001 - 9999999
Qty
Price
$2.61