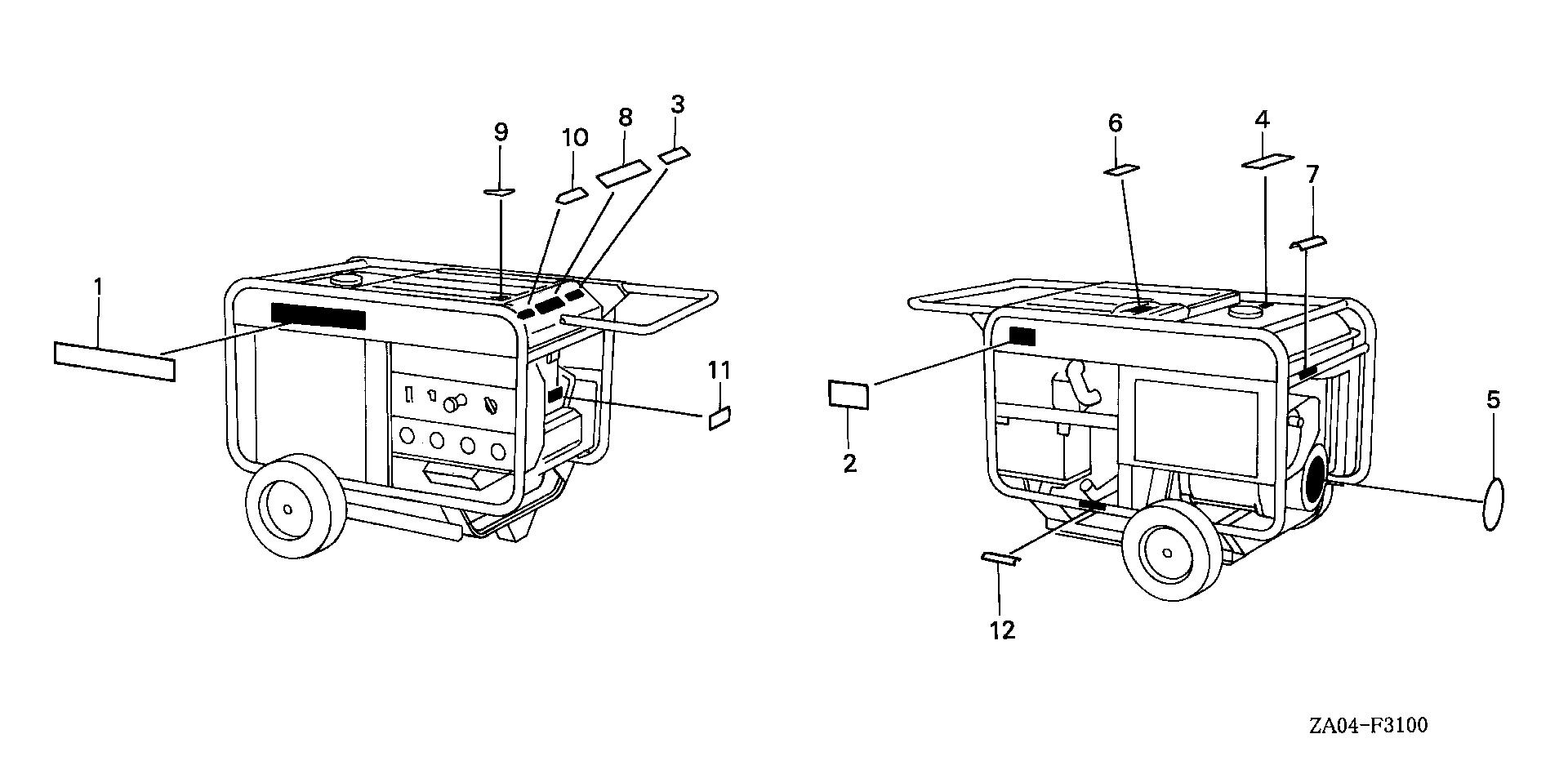
Generators ES ES6500 ES6500K2 A EA1-1100001-1159999 LABELS (1) - Five Star Honda Power Equip

Ref No
Part Number
Description
Serial Range
Qty
Price

Ref No
1
Part Number
87101-ZA0-632
Description
EMBLEM
Serial Range
1000001 - 9999999
Qty
Price
$24.13

Ref No
2
Part Number
87150-ZA0-631
Description
MARK, SPECIFICATION
Serial Range
1000001 - 9999999

Ref No
3
Part Number
87168-ZC3-630
Description
LABEL, RAIN WARNING (ENGLISH)
Serial Range
1038485 - 9999999
Qty
Price
$7.57

Ref No
4
Part Number
87522-883-660
Description
MARK, CAUTION (ENGLISH/FRENCH/SPANISH)
Serial Range
1139796 - 9999999
Qty
Price
$7.05

Ref No
6
Part Number
87535-ZA0-000
Description
MARK, AIR CLEANER ARROW
Serial Range
1066454 - 9999999
Qty
Price
$2.67

Ref No
7
Part Number
87539-898-620
Description
MARK, EX. CAUTION (ENGLISH/FRENCH)
Serial Range
1000001 - 9999999
Qty
Price
$5.74

Ref No
7
Part Number
87539-ZA0-B31
Description
MARK, EX. CAUTION
Serial Range
1139796 - 9999999
Qty
Price
$6.55

Ref No
8
Part Number
87551-ZA0-630
Description
MARK, CAUTION
Serial Range
1139796 - 9999999
Qty
Price
$15.98

Ref No
9
Part Number
87516-Z08-E31
Description
LABEL, OPERATOR WARNING
Serial Range
1139796 - 9999999

Ref No
10
Part Number
87563-ZB4-631
Description
LABEL, CONNECT WARNING (ENGLISH)
Serial Range
1000001 - 9999999
Qty
Price
$9.60

Ref No
12
Part Number
87594-ZA0-630
Description
MARK, OIL CAUTION
Serial Range
1000001 - 9999999
Qty
Price
$5.71