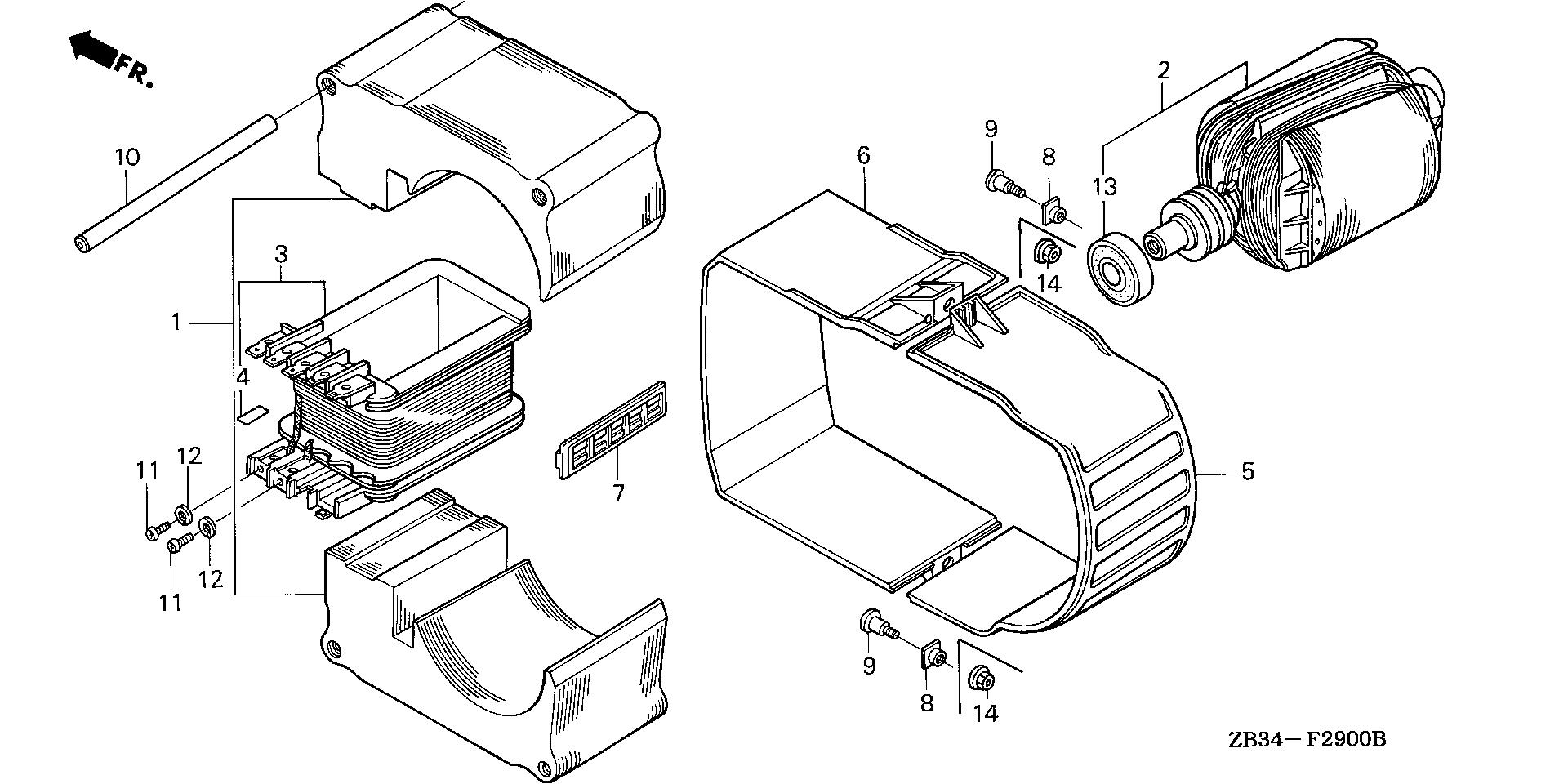
Generators EM EM1600 EM1600X A GX140-1000001-3263982 ROTOR@STATOR - Five Star Honda Power Equip

Ref No
Part Number
Description
Serial Range
Qty
Price

Ref No
1
Part Number
311A3-ZB2-000
Description
CORE SET, STATOR
Serial Range
1048729 - 9999999
Qty
Price
$581.71

Ref No
2
Part Number
31110-ZB2-000
Description
ROTOR
Serial Range
1000001 - 1986964

Ref No
2
Part Number
31110-ZB2-020
Description
ROTOR
Serial Range
1986965 - 9999999
Qty
Price
$933.95

Ref No
3
Part Number
31150-ZB2-630
Description
BOBBIN, STATOR COIL
Serial Range
1000001 - 1750769

Ref No
3
Part Number
31150-ZB2-631
Description
BOBBIN, STATOR COIL (NOT AVAILABLE)
Serial Range
1750770 - 9999999

Ref No
4
Part Number
31154-ZA5-830
Description
MARK, WIRE COLOR
Serial Range
1026381 - 9999999
Qty
Price
$1.71

Ref No
5
Part Number
31181-ZB2-000
Description
COVER, R. STATOR
Serial Range
1000001 - 9999999
Qty
Price
$40.40

Ref No
6
Part Number
31182-ZB2-000
Description
COVER, L. STATOR (NOT AVAILABLE)
Serial Range
1000001 - 9999999

Ref No
7
Part Number
31184-ZB2-000
Description
STIFFENER, STATOR (NOT AVAILABLE)
Serial Range
1000001 - 9999999

Ref No
8
Part Number
90016-ZA5-000
Description
NUT, SPECIAL (5MM)
Serial Range
1000001 - 9999999
Qty
Price
$7.40

Ref No
9
Part Number
90018-ZA5-000
Description
BOLT, STATOR COVER SETTING
Serial Range
1000001 - 9999999
Qty
Price
$3.25

Ref No
10
Part Number
90701-ZB2-000
Description
PIN, DOWEL (11X106)
Serial Range
1000001 - 9999999
Qty
Price
$31.29

Ref No
11
Part Number
93500-05008-3J
Description
SCREW, PAN (5X8)
Serial Range
1000001 - 9999999
Qty
Price
$1.65

Ref No
12
Part Number
94111-05800
Description
WASHER, SPRING (5MM)
Serial Range
1026902 - 9999999
Qty
Price
$2.00

Ref No
13
Part Number
91051-ZB3-003
Description
BEARING ASSY. (6203)
Serial Range
1986965 - 9999999
Qty
Price
$31.99

Ref No
13
Part Number
96150-62030-10
Description
BEARING, RADIAL BALL (6203UU)
Serial Range
1000001 - 1986964
Qty
Price
$30.86