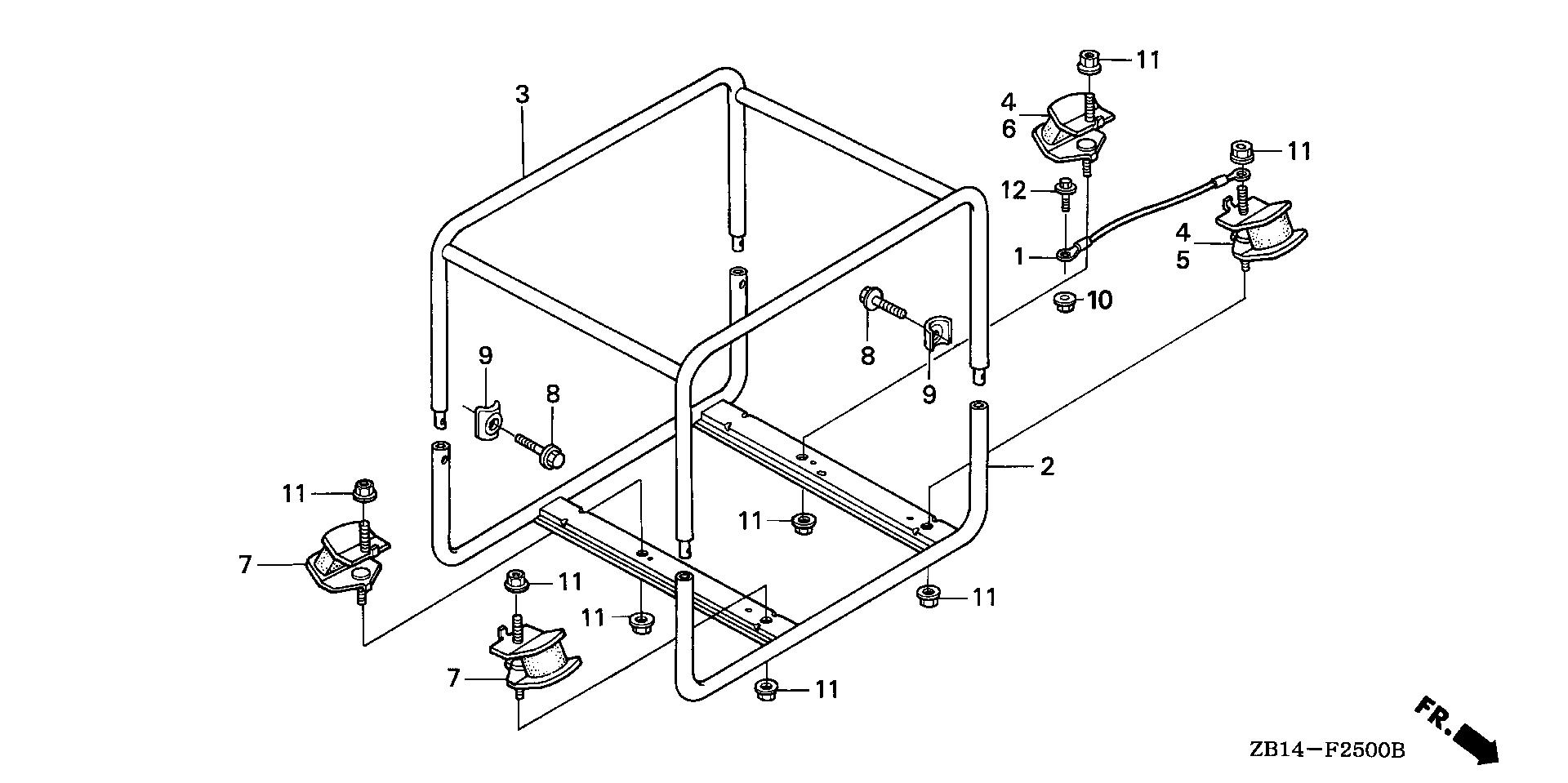
Generators EG EG2500 EG2500XK1 AN EZCR-1120001-9999999 FRAME - Five Star Honda Power Equip

Ref No
Part Number
Description
Serial Range
Qty
Price

Ref No
1
Part Number
32610-899-000
Description
CABLE, GROUND
Serial Range
1817698 - 9999999
Qty
Price
$20.76

Ref No
2
Part Number
50310-ZB3-G30ZA
Description
FRAME (LOWER) *NH105* (MAT BLACK)
Serial Range
1000001 - 9999999
Qty
Price
$375.87

Ref No
3
Part Number
50350-ZB2-800
Description
FRAME (UPPER)
Serial Range
1000001 - 9999999
Qty
Price
$342.00

Ref No
5
Part Number
68325-ZB3-E30
Description
RUBBER, FR. (LOWER)
Serial Range
1000001 - 9999999

Ref No
6
Part Number
68327-ZB3-E30
Description
RUBBER, RR. (LOWER) (NOT AVAILABLE)
Serial Range
1000001 - 9999999

Ref No
7
Part Number
68328-ZB2-000
Description
RUBBER (LOWER)
Serial Range
1000001 - 9999999
Qty
Price
$45.44

Ref No
8
Part Number
90101-ZB1-G01
Description
BOLT, FLANGE (8X14)
Serial Range
2097760 - 9999999
Qty
Price
$5.60

Ref No
9
Part Number
90501-898-000
Description
WASHER, FRAME JOINT
Serial Range
1000001 - 9999999
Qty
Price
$4.12

Ref No
10
Part Number
94050-06080
Description
NUT, FLANGE (6MM)
Serial Range
1817698 - 9999999

Ref No
11
Part Number
94050-08000
Description
NUT, FLANGE (8MM)
Serial Range
1000001 - 9999999

Ref No
12
Part Number
95701-06010-00
Description
BOLT, FLANGE (6X10)
Serial Range
1817698 - 9999999
Qty
Price
$2.23